Meta專利公開,可實現高量子效率Micro LED像素
摘要:近期,Meta一項名為“Semipolar micro-led”的專利被公開。在該專利中,Meta描述了一種可實現發射光波長的大紅移和高量子效率Micro LED像素。
近期,Meta一項名為“Semipolar micro-led”的專利被公開。在該專利中,Meta描述了一種可實現發射光波長的大紅移和高量子效率Micro LED像素。
由于全文篇幅較長,在此只展開Micro LED像素實現高量子效率的描述,專利原文可見美國專利商標局。
在LED應用中,整體外部量子效率 (EQE) 起著至關重要的作用,它主要由內部量子效率 (IQE) 和光提取效率 (LEE) 決定,是表征GaN基Micro LED性能的一個重要參數,代表了有多少電注入載流子能最終轉化為器件出射的光子。
Meta所述Micro LED可以包括生長在摻雜半導體層中形成的凹坑結構的半極性面上的發光層。可以通過使用具有傾斜側壁和特定形狀和取向的開口的掩模蝕刻摻雜半導體層。
摻雜半導體層可以包括生長在c平面取向襯底上的n摻雜GaN層,并且可以蝕刻以形成具有相對于c平面傾斜約50°至75°的角度的小面的凹坑結構。因此,每個凹坑結構可以具有倒金字塔形狀,并且凹坑結構的小面可以是半極性取向。

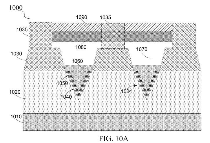
圖10A示出了根據某些實施例的包括具有發光層的子像素的微型LED像素的示例,該發光層形成在半導體材料層中形成的凹坑的半極性面上
一個或多個量子阱層(例如未摻雜的GaN/InGaN層)可以在半極性凹坑面上外延生長,電子阻擋層(EBL)可以在量子阱層上生長,并且p摻雜GaN層可以在EBL層上生長和/或可以填充凹坑結構。這樣的Micro LED子像素可以形成在每個凹坑結構中。
在一個實施例中,可以在P摻雜GaN層上形成諸如銦錫氧化物(ITO)層和/或金屬層的P接觸層。所制造的具有形成在凹坑結構中的Micro LED子像素的Micro LED晶片可以通過接合焊盤接合到CMOS晶片。每個接合焊盤可以大于Micro LED子像素的尺寸,并且因此可以將多個Micro LED子像素分組為一個Micro LED像素。
在一個實施例中,可以分別蝕刻和外延生長Micro LED晶片的不同區域,以形成不同材料或不同組成的發光層,從而發射不同顏色的光。
因為發光層生長在半極性平面上,并且在生長之后可能不存在對發光層的蝕刻,所以Micro LED像素的IQE可以很高。
另外,在凹坑結構的半極性面上生長的發光層可以具有大于凹坑結構的橫向面積的發光面積,并且因此可以在發光區域中具有較低的有效載流子密度和較低的俄歇復合率。

圖12示出了根據某些實施例的具有形成在半導體材料層中形成的凹坑結構的半極性面上的發光層的微型LED子像素的示例中的發光面積增加
同時,由于LED晶片可以包括Micro LED子像素的陣列,每個Micro LED子像素都形成在凹坑結構中,并且可以在沒有對準的情況下結合到CMOS背板,以形成Micro LED像素陣列,因此鍵合過程可以相對容易并且更可靠。

圖17A-17B示出了根據某些實施例的用于LED陣列的裸片到晶片鍵合、晶圓到晶圓接合的方法的示例。
因此,Meta表示專利描述的Micro LED像素可以實現高量子效率。
專利原文:https://image-ppubs.uspto.gov/dirsearch-public/print/downloadPdf/20230130445
來源:行家說Display





陜公網安備 61019002000416號

業務咨詢