關于Micro LED專利,華為、康佳、希達、藍普視訊等披露……
摘要:近期,行家說Display通過企查查了解到,希達電子、藍普視訊等多家企業均有Micro LED相關專利在近期進入申請公布階段,并且華為機器、康佳Micro LED相關專利進入授權階段。
近期,行家說Display通過企查查了解到,希達電子、藍普視訊等多家企業均有Micro LED相關專利在近期進入申請公布階段,并且華為機器、康佳Micro LED相關專利進入授權階段。
希達電子:一種有源Micro-LED顯示控制系統
3月24日,希達電子在在企查查披露了“一種有源Micro-LED顯示控制系統”的專利申請。
據介紹,該發明屬于Micro?LED顯示控制技術領域,該系統使用多片FPGA核心板,通過一分多的HDMI分配器將HDMI視頻信號發送到各FPGA核心板;每個FPGA核心板截取部分區域RGB視頻數據并轉換得到的PWMD數據信號,與其中一個FPGA核心板產生的并行SWEEP控制數據同步輸出,分別經過數模轉換及升壓最后輸出到Micro?LED顯示屏TFT驅動電路,合成完整的視頻數據,實現Micro?LED顯示屏的點對點顯示。
該發明能夠實現高灰階Micro?LED顯示,同時降低研發階段的開發難度。
藍普視訊:一種Micro-LED缺陷光線檢測探頭及缺陷檢測方法
3月14日,藍普視訊在企查查披露了“一種Micro-LED缺陷光線檢測探頭及缺陷檢測方法”的專利申請。
該申請涉及一種Micro?LED缺陷光線檢測探頭及缺陷檢測方法,探頭包括基體、設在基體上的線性模組、設在線性模組上的移動檢測板,設在移動檢測板上的激光發射源、設在移動檢測板的工作面上并與激光發射源的輸出端連接的激光分束器和設在移動檢測板上的控制器,線性模組驅動移動檢測板在水平面上移動,激光發射源按照MxN的矩陣形式排列,每一個激光分束器處均部署有一個CCD圖像傳感器,控制器與驅動裝置、激光發射源和CCD圖像傳感器進行數據交互,用于根據CCD圖像傳感器的成像識別異常的Micro?LED單元。
該申請公開的Micro LED缺陷光線檢測探頭及缺陷檢測方法,借助于非接觸式的激發發光檢測方式來對Micro LED晶粒進行過飽和檢測,結合區域化的檢測方式來得到更快的檢測速度。
康佳:一種Micro-LED的轉移基板及其制備方法
4月18日,康佳在企查查披露 “一種Micro-LED的轉移基板及其制備方法”的專利申請,目前進入授權階段。
該發明公開了一種Micro?LED的轉移基板及其制備方法。
通過在鍵合膠層表面上形成多個鍵合膠凸起,所述鍵合膠凸起可形變并用于與Micro?LED鍵合連接,分散了由于所述鍵合膠與翹曲的外延生長基板上的Micro?LED進行壓制鍵合而產生的內應力,降低了鍵合膠層受到的應力,使得Micro?LED與轉移基板進行臨時鍵合時,鍵合膠能夠更完整的粘著Micro?LED,減小由于外延生長基板翹曲導致的臨時基板中心與外圍的鍵合膠的粘力差異,使得外延生長基板上的Micro?LED都能與轉移基板上的鍵合膠鍵合,消除了鍵合環現象。
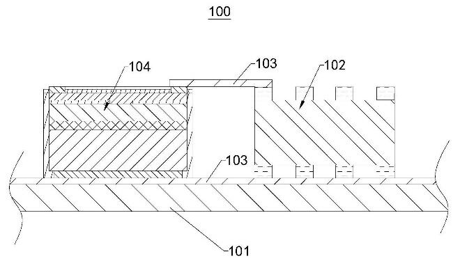
華為機器:Micro-LED芯片及其制作方法、顯示面板
本申請提供Micro?LED芯片及其制作方法,以及包括該Micro?LED芯片顯示面板及顯示終端。
該Micro?LED芯片包括外延層、N電極、P電極及連接電極。連接電極凸起于P電極背離外延層的一面,連接電極的表面能與P電極的表面能大小不同。
制作顯示面板時,驅動電路與連接電極進行連接,由于本申請的連接電極的表面能與P電極的表面能不同,因而將Micro?LED芯片從襯底上剝離時,用于固定Micro?LED芯片及襯底的透明膠材在連接電極上不殘留或者殘留于透明膠材的量少于在P電極上殘留的量,能夠保證在不損壞Micro?LED芯片的前提下,保證Micro?LED芯片與驅動電路的有效連接。
來源:行家說新聞中心





陜公網安備 61019002000416號

業務咨詢