奧拓、兆馳、雷曼、惠科Micro LED專利公布
摘要:近日,行家說Display通過企查查了解到,奧拓電子、兆馳股份、雷曼光電、惠科、精測電子均有Micro LED相關專利進入申請公布階段,涵蓋Micro LED多項關鍵工藝。
近日,行家說Display通過企查查了解到,奧拓電子、兆馳股份、雷曼光電、惠科、精測電子均有Micro LED相關專利進入申請公布階段,涵蓋Micro LED多項關鍵工藝。
奧拓電子:一種Micro LED顯示面板
1月13日,奧拓電子“一種Micro LED顯示面板”的發明專利申請被公布,據介紹,該發明可提高Micro LED顯示面板的使用壽命。
專利信息顯示,通過結構優化,奧拓電子的發明提高了Micro LED顯示面板的使用壽命,通過設置反光層和黑色遮光層,防止了Micro LED芯片之間發生光串擾,提高了出光率、光線利用率和顯示質量。
兆馳股份:一種Micro LED器件及其制備方法
1月10日,兆馳股份“一種Micro LED器件及其制備方法”的發明專利申請被公布,據介紹,該發明可降低轉移難度,提高加工效率及良率。
專利信息顯示,兆馳股份的Micro LED器件包括襯底及依次設于襯底上的芯片封裝層及重布線層,通過在芯片封裝層內交錯層疊設置若干個發光芯片,進而降低平面巨量轉移的難度。并通過分批次分層對芯片進行封裝,降低轉移難度,提高加工效率及良率。
雷曼光電:一種Micro LED倒裝芯片
1月10日,雷曼光電“一種Micro LED倒裝芯片”的發明專利申請被公布,據介紹,該發明可以避免出現連錫短路的風險。
專利信息顯示,雷曼光電提供一種Micro LED倒裝芯片,該芯片包括襯底和依次設置于所述襯底表面的N型電極層、多量子阱層和P型電極層。
惠科:一種驅動基板、micro LED轉移裝置及其轉移方法
1月3日,惠科“一種驅動基板、micro LED轉移裝置及其轉移方法”的發明專利申請被公布,據介紹,該發明可解決在Micro LED轉移到驅動基板的過程中發生位置偏移的問題。
專利信息顯示,惠科所述驅動基板的一側表面設置有綁定金屬層,所述綁定金屬層的周圍設置有定位層,所述定位層在遠離所述驅動基板位置處的寬度小于在靠近所述驅動基板位置處的寬度。
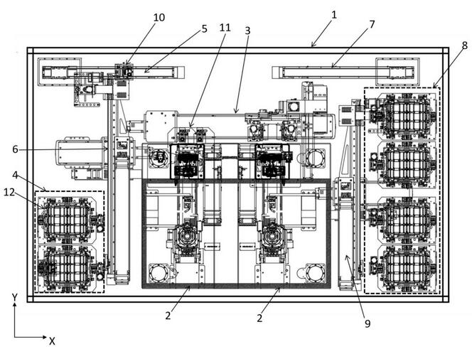
精瀨光電、精測電子:一種Micro LED檢測裝置及檢測方法
1月3日,精瀨光電、精測電子共同參與的“一種Micro LED檢測裝置及檢測方法”發明專利申請被公布,據介紹,該發明可提高檢測Micro LED檢測效率,減少人工操作步驟。
專利信息顯示,上述Micro LED檢測裝置,沿X軸依次設置有上料區、檢測區和分等區,集成自動上料、自動檢測和自動分等,自動化程度高,整體結構排布緊湊,空間利用率高,上料、檢測和分等區物流傳送獨立,高效快捷;本發明還公開一種Micro LED檢測方法,在一條產線上完成對Micro LED的多項檢測,檢測流程順暢。
來源:行家說新聞中心





陜公網安備 61019002000416號

業務咨詢